Extract drinking Water from Air - Patents
Top Inventions for Extracting Drinking Water from Air
1/ Systems and Methods for Extracting Freshwater from Atmospheric Humidity
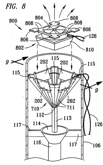
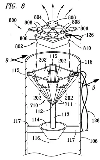
One notable patent is the "Systems and Methods for Extracting Freshwater from Atmospheric Humidity" (USPA # 2007220843). This invention is designed to provide freshwater in hot and humid climates and can supply drinking water to individuals, buildings, farms, or forested areas. It treats the extracted water to eliminate microorganisms and suspended particulates and can be used for various applications, including irrigation and animal drinking. The technology is based on condensing water vapor suspended in the air, offering an alternative to conventional refrigeration cycles using harmful CFC refrigerants.
Extract drinking Water from Air - Patents USPA # 2007220843
Extract drinking Water from Air - Patents USPA # 2007220843
Extract drinking Water from Air - Patents USPA # 2007220843
Extract drinking Water from Air - Patents USPA # 2007220843
Extract drinking Water from Air - Patents USPA # 2007220843
Extract drinking Water from Air - Patent USPA # 2007220843
2/ Method & Apparatus for Extracting Water from Air Using a Desiccant
Another patent, the "Method & Apparatus for Extracting Water from Air Using a Desiccant" (USP # 6511525), focuses on efficient water extraction. By carefully designing the dead volumes and pressure balances, this technology minimizes energy requirements. It uses a desiccant to dry air, and the dried air can be exchanged for fresh moist air, repeating the process. This method is cost-effective and can be adapted for various scales, from individual use to industrial applications.
Extract drinking Water from Air - Patent USP # 6511525
3/ System & Method for Recovering Water from Air
The "System & Method for Recovering Water from Air" (USPA # 2006279167) involves a column with a non-reflective surface that absorbs heat energy from the sun and transfers it to the air inside. A condenser with a thermoelectric cooler is used to condense water vapor, and an accumulator collects the condensed water. This method is particularly effective in areas with abundant sunlight and can be used for multiple purposes, including drinking water production and irrigation.
Extract drinking Water from Air - Patent USPA # 2006279167
Extract drinking Water from Air - Patent USPA # 2006279167
Extract drinking Water from Air - Patent USPA # 2006279167
Extract drinking Water from Air - Patent USPA # 2006279167
Extract drinking Water from Air - Patent USPA # 2006279167
Extract drinking Water from Air - Patent USPA # 2006279167
Analog technology is highly applicable and available to everyone: Atmospheric Water Generator
Challenges and Solutions
Despite the existence of these patents, challenges remain in achieving widespread use and access to atmospheric water generators (AWGs). Many people are unaware of the importance of clean water and the potential health risks associated with the conspiracy theories surrounding water supplies. To address these challenges, it is crucial to:
- Raise Awareness: Educating the public about the significance of clean water and the technology available to extract it is vital. Governments, non-governmental organizations, and the scientific community should collaborate to increase awareness. 
- Rediscover Lost Technologies: Collaborate with experts in physics and related fields to improve existing AWG technologies and develop new ones. By harnessing the expertise of knowledgeable scientists, we can optimize water productivity. 
- Multiple Methods: Utilize various methods for extracting water from the atmosphere, depending on the specific environmental conditions. This includes both electricity-dependent technologies and those suitable for remote and arid regions. 
Suggested related solutions: How to Make an Atmospheric Water Generator
Note. You can see the patents for creating water from the atmosphere (nearly 30 patents) at the WATER IS MEMORY FOR CONSCIOUSNESS AND WISDOM Blog. Article: EXTRACTING WATER FROM AIR
Create water from the plans of experts
Extracting drinking water from the air is a promising solution to the global water crisis. The patents discussed here showcase innovative methods to achieve this goal, from condensing water vapor to using desiccants and thermoelectric coolers. To overcome the challenges of awareness and access, it is essential to educate the public about clean water's importance, collaborate with experts to improve existing technologies, and develop multiple methods suitable for various environments. These steps will help ensure that clean and safe drinking water is accessible to all, mitigating the impact of water-related conspiracies and contributing to a healthier and more sustainable future.
Scientists Have Created a Device That Sucks Water Out of Thin Air, Even in the Desert:
💠 If you thought that an air-powered water generator would produce water like a dehumidifier, you'd be wrong. Rainwater is always different from the water generated by a dehumidifier.
💠 The technology that creates rain-like water through the osmosis process suddenly stops.The solution creates rain-like water right in the pressure chamber; water suddenly appears from space (out of nothing) when the reconciliation of discord occurs.
- The universe (nature) is also the place to mediate pressure. 
- The water created is clean, safe, structured water that is very beneficial for human memory and mind. 
- The structure of water serves as the primary source of stored information, reflecting the three-dimensional reality, and water also serves as a medium for storing human memories. The Water Liberty Guide creates water as a hard drive, which is highly beneficial for the brain. Memories are not stored in the brain. Consciousness is only present in the water molecule, not in oxygen or hydrogen; Existential memory is embodied in water 💧 
- Related document: Free Electricity and Water Solutions 
