A method by which water may be extracted from the air even without a supply of electricity from a power source or even without a supply of fuel, as well as an apparatus therefor, is disclosed. The apparatus used for the method for extracting water from the air comprises at least a rotatably mounted hygroscopic moisture-absorbing rotor having at least one region through which air can pass in the direction of thickness thereof; a passage for regeneration through which air for regeneration is circulated, of which both ends are opened at the opposing two surfaces of a regeneration region, respectively, the regeneration region being a part of the moisture-absorbing rotor, at which the moisture-absorbing rotor that absorbed moisture is regenerated; and a drain hole for taking out condensed water from the passage for regeneration.
Systems and Methods for Extracting Freshwater from Atmospheric Humidity - USPA # 2007220843
Systems and methods are disclosed for extracting freshwater from atmospheric humidity in extremely hot and humid climates and supplying freshwater to a small group of people, a building, a farm, or forestation area. The freshwater is treated to provide drinking water by disinfecting to eliminate microorganisms and filtration to remove suspended particulates from air, erosion or corrosion products, and disinfected waste. Compact units provide drinking water for individuals, passengers in cars, vans, trucks, or recreational boats, or crewmembers on a seagoing cargo ship whether from atmospheric humidity or from moisture-laden gases. Furthermore, systems are disclosed for the ample supply of freshwater with minimal treatment for small- to large-sized buildings in a manner that alleviates the heat load on buildings. Collection of freshwater from hot humid ambient air is also provided for other uses, such as irrigation and farm animal drinking. Various methods are used for condensation of water vapor suspended in the air as alternative to conventional refrigeration cycles using CFC refrigerants. Devices are disclosed using naturally occurring brackish cold water, circulation of cooling water cooled by thermoelectric cooling or thermoacoustic refrigeration as well as evaporative cooling and transpiration cooling. Water produced by the systems may flow under gravitational forces entirely or with the assistance of boasting pumps.






METHOD & APPARATUS FOR EXTRACTING WATER FROM AIR USING A DESICCANT - USP # 6511525
The present invention provides a method and apparatus for extracting liquid water from moist air using minimal energy input. The method can be considered as four phases: (1) adsorbing water from air into a desiccant, (2) isolating the water-laden desiccant from the air source, (3) desorbing water as vapor from the desiccant into a chamber, and (4) isolating the desiccant from the chamber, and compressing the vapor in the chamber to form liquid condensate. The liquid condensate can be removed for use. Careful design of the dead volumes and pressure balances can minimize the energy required. The dried air can be exchanged for fresh moist air and the process repeated. An apparatus comprises a first chamber in fluid communication with a desiccant, and having ports to intake moist air and exhaust dried air. The apparatus also comprises a second chamber in fluid communication with the desiccant. The second chamber allows variable internal pressure, and has a port for removal of liquid condensate. Each chamber can be configured to be isolated or in communication with the desiccant. The first chamber can be configured to be isolated or in communication with a course of moist air. Various arrangements of valves, pistons, and chambers are described.

Scientists Have Created a Device That Sucks Water Out of Thin Air, Even in the Desert:
✔ It’s the only proven, EXCLUSIVE step-by-step guide showing you EXACTLY how to create your own “home oasis” TODAY…and how to survive any tough century long drought…
✔ It was providing a steady, robust supply of fresh, pure water ON DEMAND…
Related document: Create Safe Drinking Water
METHOD FOR RECOVERING WATER FROM AIR - USP # 6156102
A process of separating water from ambient air involves a liquid desiccant to first withdraw water from air and treatment of the liquid desiccant to produce water and regenerated desiccant. Water lean air is released to the atmosphere. Heat generated in the process is recycled. The drying capacity, or volume of water produced, of the system for a given energy input is favoured over the production of dried air.
METHOD AND APPARATUS FOR PRODUCING POTABLE DRINKING WATER FROM AIR - USP # 7306654
A method of separating water from air is provided comprising the steps of (a) contacting air having water vapour with an hygroscopic liquid mixture to produce a water rich hygroscopic liquid mixture, (b) heating at least a portion of the water rich hygroscopic liquid mixture to produce a gaseous mixture including water vapour and at least one other gaseous component, (c) condensing at least a portion of the water vapour in the gaseous mixture to produce liquid water and a depleted gaseous mixture at a first pressure, and (d) removing at least a portion of the at least one other gaseous component to maintain the first pressure below a predetermined pressure, wherein the depleted gaseous mixture is in fluid communication with the water rich hygroscopic liquid mixture. An absorber vessel is also provided for effecting the method of separating water from air.
SYSTEM & METHOD, FOR RECOVERING WATER FROM AIR - USPA # 2006279167
A system for condensing water from air includes a column having a substantially non-reflective surface effective for absorbing heat energy from the sun and transferring the heat to air in the interior of the column. A condenser is secured within the column, and includes a condensing surface with a thermoelectric cooler positioned thereon for cooling the condensing surface. A collector is positioned within the column for collecting water that condenses on and falls from the at least one condensing surface of the condenser, and an accumulator is coupled in fluid communication with the collector for accumulating the water.
NOVEL PLANT FOR GENERATING WATER FROM AIR - WO 2007051886
The invention relates to a novel plant for generating water from air. The invention consists of a container (2) which is equipped internally with parallel panels (3) that are disposed vertically, such as to form channels (4) for the passage of air which is introduced by an extractor system (5) and an air compressor (6) which includes an ion cold-heat conditioning system (8) and a thawing microwave system (10). The base of the container includes a water (15) storage receptacle (13) having an opening (14) which is connected to a channel (17) that is provided with an osmosis filtration system (16) and, optionally, a pulse pump (18).

Scientists Have Created a Device That Sucks Water Out of Thin Air, Even in the Desert:
✔ It’s the only proven, EXCLUSIVE step-by-step guide showing you EXACTLY how to create your own “home oasis” TODAY…and how to survive any tough century long drought…
✔ It was providing a steady, robust supply of fresh, pure water ON DEMAND…
Related document: Create Safe Drinking Water
METHOD & APPARATUS FOR EXTRACTING WATER FROM AIR CONTAINING MOISTURE - WO 2007041804
A method of and apparatus (10) for extracting water from air containing moisture. The method comprises removing thermal energy from the air containing moisture using a thermodynamic pump (12) so as to cool the air containing moisture and thereby extract the water in a liquid or solid phase, directing the cooled air to an air pre-cooler (16) so as to cool the air pre-cooler, and pre-cooling the air containing moisture using the pre-cooler (16) before the air containing moisture reaches the thermodynamic pump (12)
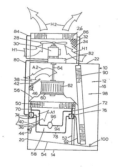
METHOD FOR EXTRACTING WATER FROM AIR & APPARATUS THEREFOR - JP 2004169321
PROBLEM TO BE SOLVED: To provide a method which enables water to be extracted from air even in the absence of the supply of electricity from a power source and the supply of fuel, and an apparatus therefor. SOLUTION: This apparatus for use in the method for extracting the water from the air is equipped at least with a moisture absorbing rotor, a recycling passage for circulating recycling air for recycling the moisture absorbing rotor, and a drain hole which is provided in the lower part of the recycling passage and used for extracting condensation liquid water from the recycling passage. The recycling air, which is to be supplied to a recycling area of the moisture absorbing rotor, is heated by sunlight, so as to be circulated through the recycling passage and so that the moisture absorbing rotor can be recycled; the recycling air after the recycling of the moisture absorbing rotor is cooled for the generation of the dew condensation; the condensed water is recovered from the drain hole; and the rotation of the moisture absorbing rotor changes a part on the moisture absorbing rotor, which serves as the recycling area.



ULTRA WATER-REPELLENT SURFACE TYPE WATER EXTRACTION DEVICE FOR EXTRACTING WATER FROM AIR & NEGATIVE ION PRODUCING DEVICE - JP 2004057890
PROBLEM TO BE SOLVED: To provide a device for extracting water efficiently from air by using an ultra water-repellent surface and a device for producing negative ions by a water repelling phenomenon. SOLUTION: The device for extracting water in air efficiently by the cooled ultra water-repellent surface utilizes a phenomenon in which, when water (water droplets) adheres to/fall on the surface of a water repellent plate, the water is converted instantly into fine spheres, and the device for producing a large amount of negative ions from a small amount of water (water droplets), are provided.
METHOD FOR EXTRACTING WATER FROM AIR AND DEVICE FOR CARRYING OUT SAID METHOD - WO 02086245
The invention relates to the method for producing water from ambient air. Said method consists in forming an air flow (1) and forcedly removing heat energy on at least two portions (2) of said flow. All portions for the forced removal of heat energy are disposed between n and n+1 heat-exchange areas (3n, 3n+1). Afterwards, a heat exchange is performed between 2n heat-exchange sections (31, 32n) of the air flow (1). Said sections are grouped into heat-exchanging pairs of the sections arranged on the opposite sides of the portions (2) for the forced removal of heat energy. The heat-exchange is performed by a heat transfer from i heat-exchange section towards 2n +1-i heat-exchange section. A water condensate is extracted from a part of the air flow where the temperature thereof is lowed to the dew-point temperature.
DEVICE FOR COLLECTING WATER FROM AIR - WO 0184066
The present invention is directed to a water making device that collects the moisture contained in the atmosphere and condenses it into high purity water. In one embodiment, moist air (180) entering the system flows first through a precooler (air-to-air heat exchanger) (100) and then passes across an evaporator (110) that cools the air below the dew point and producers water. The dry, cold air that leaves the evaporator flows through the second path of the precooler, such that the dry, cold air is used to precool the incoming moist air. In a second embodiment, an integrated water maker/water cooler system is disclosed in which two evaporators are employed. The first evaporator (410) serves the same function as that of the conventional water maker, to remove the moisture. The second evaporator (415) is submerged inside a water storage tank (510) or mounted in a heat transfer relationship with the storage tank, for cooling the water collected in the tank.


METHOD FOR OBTAINING WATER FROM AIR WO 0111152
The invention relates to methods directed at obtaining water from air and can be used in housekeeping to satisfy the population's needs and the needs of the economy in the case of water used for industrial purposes. The inventive method comprises the following steps: an airflow is formed, said airflow is artificially cooled, water vapors are condensed and the fresh water obtained by condensation is directed into a water collecting tank. The air exiting from the air intake filter is circulated through an electrostatic field; the cooled air is directed by means of a connecting skirt to the radiator of the condenser in order to keep the cooling device running. The air passes through the air intake filter at ambient conditions, with a 70-100 % moisture and a temperature ranging between +15 DEG and +50 DEG C. The inventive method makes it possible to obtain high quality water (such as rain water) with extended shelf life.
DEVICE FOR OBTAINING WATER FROM AIR - WO 9907951
The invention relates to a device for obtaining water from air by means of a hygroscopic absorption material which is intermittently charged with humid air or subjected to a heat source. The device comprises a tightly sealed container (1) for the absorption material (2) with at least one means (4) for supplying humid air and removing water vapour to a condenser (13) and with an opening (6) for evacuating dry air. The invention is characterized in that a vacuum pump (8) is connected to the container (1) and that processor-controlled valves (7, 9, 11, 12) are provided for which allow for a two-phase operation. The first phase involves feeding humid air into the container (1) and the second phase consists of regeneration of the absorption material (2) and condensation of the water vapour.
METHOD OF EXTRACTING WATER FROM AIR AND A DEVICE FOR CARRYING OUT SAID METHOD - WO 9739197
The method involves the following: a stream (1) of air is cooled in an artificial cooling section (3), before and after which heat transfer is effected between "n" air stream stages (21... 2n) in such a way that heat is transferred from the first stage (21) to the "nth", from the second stage to the "(n-1)th" and further from the (2n/2)th stage to the (2(n/2+1)). When the dew point is reached in the stages (21... 2n), condensation of the water vapour occurs. The patentable device comprises a duct (4) for the air stream in which are disposed a cooling element (5) of the refrigerating machine, a heat exchanger (6) and a blower (7). The heat exchanger (6) comprises a plurality of sections each of which contains heat-transfer elements (81... 8n) disposed to both sides of the cooling element (5). The first element (8n/2) is connected by the heat flow to the nth, the second similarly to the (n-1)th, and further the (8n/2) to the (8(n/2+1)).




Scientists Have Created a Device That Sucks Water Out of Thin Air, Even in the Desert:
✔ It’s the only proven, EXCLUSIVE step-by-step guide showing you EXACTLY how to create your own “home oasis” TODAY…and how to survive any tough century long drought…
✔ It was providing a steady, robust supply of fresh, pure water ON DEMAND…
Related document: Create Safe Drinking Water
METHOD AND APPARATUS FOR EXTRACTING WATER FROM AIR - WO 0218859
The present invention (10) provides a method and apparatus for extracting liquid water from moist air using minimal energy input. The method comprises compressing moist air under conditions that foster the condensation of liquid water. The air can be decompressed under conditions that do not foster the vaporization of the condensate. The decompressed, dried air can be exchanged for a fresh charge of moist air and the process repeated. The liquid condensate can be removed for use. The apparatus can comprise a compression chamber (12) having a variable internal volume. An intake port (20) allows moist air into the compression chamber (12). An exhaust port (20) allows dried air out of the compression chamber. A condensation device (40) fosters condensation at the desired conditions. A condensate removal port (30) allows liquid water to be removed.
METHOD AND APPARATUS FOR EXTRACTING WATER FROM AIR WO 0136885
The present invention provides a method and apparatus for extracting liquid water from moist air using minimal energy input. The method comprises compressing moist air under conditions that foster the condensation of liquid water. The air can be decompressed under conditions that do not foster the vaporization of the condensate. The decompressed, dried air can be exchanged for a fresh charge of moist air and the process repeated. The liquid condensate can be removed for use. The apparatus can comprise a compression chamber (10) having a variable internal volume. An intake port (20) allows moist air into the compression chamber (12). An exhaust port (20) allows dried air out of the compression chamber (12). A condensation device fosters condensation at the desired conditions. A condensate removal port allows liquid water to be removed.



PROCESS OF WINNING OF WATER FROM AIR ( AIR DRYING ) AND GEAR FOR ITS REALIZATION - RU 2151973
Cooling processes. SUBSTANCE: stream of humid air formed by one fan as minimum is cooled in first heat exchanger by intermediate heat transfer agent and in cooling element of refrigerating machine to temperature below dew point with subsequent removal of condensed water. Then stream of air is heated in second heat exchanger by intermediate heat transfer agent and in element of refrigerating machine meant for heat removal. In this case flow rates of intermediate heat transfer agent and humid air can be controlled simultaneously or sequentially depending on climatic parameters of atmospheric air. Direction of humid air is periodically changed with cooling of humid air below temperature of water freezing guiding it first into element of refrigerating machine intended for heat removal and later into cooling element. Condensed water is purified, filtered and mineralized. EFFECT: increased output of water thanks to raised productivity of refrigerating machine with reduced energy consumption and enlarged area of contact of sections of heat exchanger having temperature below dew point to humid air.

DEVICE FOR PRODUCING FRESH WATER FROM AIR - RU 2143530
FIELD: hydraulic engineering. SUBSTANCE: device can be used for producing fresh water preferably in sea coastal areas. Device has pipeline 1 lowered into deep layers of water basin or sea with cold water, and vessel 3 communicating with pipeline by means of pump 5. Vessel is located above level of surrounding water on stationary base. Vessel is isolated from air, is filled with running cooling water, and at one side it communicates with pump which is connected with pipeline, and at other side it communicates with outlet pipe 6 having its end located below pump which ensures running of cooling water as through syphon from pump to outlet pipe and into surrounding water basin without consuming any outside energy. Located within vessel is air pipeline. All walls 7 of air pipeline function as heat-conducting partitions made of heat-conducting and water-unwettable material. Passage 8 of air pipeline communicates with surrounding atmospheric air through inlet hole 9 and outlet hole 10. Inlet hole is located above outlet hole. Vessel 3 acts as cooling zone, and passage 8 of air pipeline acts as zone of condensation. Flow of water from deep layers is effected via pipeline as through communicating vessel due to hydrostatic forces from side of surrounding water. Flow of air in air pipeline is effected due to its cooling and increasing density at contact with walls of air pipeline. Condensate of water vapor settling on cold water-unwettable walls of air pipeline is collected in vessel 11 which is intended for fresh water. Aforesaid embodiment of device allows for its location on stationary support above level of surrounding water for example on shore or on floating pontoon. It requires no protection from waves. Aforesaid design allows for manufacture of large-size devices of high productive capacity. Operation of device is simplified. EFFECT: higher efficiency.

DEVICE FOR SEPARATING WATER FROM AIR - RU 2064036
RU 2062838 - DEVICE FOR TAKING DRINKING WATER FROM AIR
RU 2000393 - APPARATUS FOR EXTRACTION OF WATER FROM AIR
SU 1751608 - DEVICE FOR COLLECTING DRINKING WATER FROM AIR



FORCE FEED SYSTEM FOR DRAIN WATER FROM AIR-CONDITIONER - JP 5203177
PURPOSE: To discharge drain water, even if a clearance between a ceiling and a floor slab is narrow or even if a distance between an air-conditioner and a pipe shaft is long, by forcibly feeding the drain water from the air-conditioner, using a pump. CONSTITUTION: When the amount of drain water reaches the level of an electrode (d) in a drain tank 16, a pump 17 is automatically started by output from a waterlevel sensor 24 and the drain water is forcibly fed to a flexible tube 20 through a solenoid valve 18 and a check valve 19. Therefore, the drain water fed to the flexible tube 20 is sent from a flange part 33 on a connection pipe 31 to a drain outlet 39, flows together with dirty water, miscellaneous discharge water, rainwater or other drain water through a flowing-down passage 38, and is effectively discharged.
JP 59150277
PREVENTIVE DEVICE FOR SCATTERING OF WATER FROM AIR CONDITIONER
HISATAKA, SATORU
1984-08-28
JP 54127870
METHOD AND APPARATUS FOR OBTAINING WATER FROM AIR
JP 52134896
METHOD OF RECOVERING WATER FROM AIR APPARATUS THEREFORE AND PROCESS FOR PREPARING SILICAGEL AND APPARATUS THEREFORE
BUIRUHERUMU, GUROOTO; PEETAA, FUSUMAN
1977-11-11
JP 54047354
METHOD OF OBTAINING WATER FROM AIR IN ATMOSPHERE AND ITS DEVICE
BUORUFUGANGU, BURANGU
1979-04-13
GB 2064358
EXTRACTING WATER FROM AIR
Scientists Have Created a Device That Sucks Water Out of Thin Air, Even in the Desert:
✔ It’s the only proven, EXCLUSIVE step-by-step guide showing you EXACTLY how to create your own “home oasis” TODAY…and how to survive any tough century long drought…
✔ It was providing a steady, robust supply of fresh, pure water ON DEMAND…
Related document: Create Safe Drinking Water
GB 1200221 - PRODUCING FRESH WATER FROM AIR RAISED TO HIGH HUMIDITY BY EXPOSURE TO WATER VAPOR FROM CONTAMINATED SOURCES OF WATER
Purification of water. CURZON DOBELL. 1 Aug., 1967, No.35178/67. Heading B1B. [Also in Divisions F3 and F4] Potable water is obtained from sea water (or other non-potable water) in reservoir 20 by passing a stream of atmospheric air over briaded-cotton wick plates 22, which are saturated with the sea water, so that the air takes up water-vapour, drawing the moistened air by if an 25 in section 17 where the air is cooled by coils 32, 33 and water-vapour condenses. The condensate .(i.e. potable water) is withdrawn from section 17 through pipe 41 by pump 42, and is received in tank 44. Partially unsaturated atmospheric air enters the apparatus through inlet 19 and is heated in section 15 before it passes over wick plates 22. The air may be heated by the sun, in which case baffle plates 30 are painted black. As shown, the apparatus will float in the sea at level 39; and rudder 45 adjusts its position so that inlet 19 is constantly facing the wind. Air is discharged from the apparatus through outlet 46. Coils 32, 33 may be cooled by feed water which then passes through pipe 36 to reservoir 20. A land-based apparatus is described wherein the air to be heated flows up an annular passage, the external wall of which has annular fins to absorb solar heat.



CA 497523
APPARATUS FOR EXTRACTING WATER FROM AIR
SUITER, WILL D
1953-11-10
CA 2070098
APPARATUS FOR RECOVERING WATER FROM AIR AND METHOD OF WATER RECOVERY
Scientists Have Created a Device That Sucks Water Out of Thin Air, Even in the Desert:
✔ It’s the only proven, EXCLUSIVE step-by-step guide showing you EXACTLY how to create your own “home oasis” TODAY…and how to survive any tough century long drought…
✔ It was providing a steady, robust supply of fresh, pure water ON DEMAND…
Related document: Create Safe Drinking Water
Planning to update more:
UA 66218
A PROCESS FOR PREPARATION OF SWEET WATER FROM AIR
NEVEDNICHENKO, PETRO SAVOVYCH (UA); HERMAN NATALIIA PETRIVNA
Abstract --- A process for preparation of sweet water from air consists in that a given amount of water being incorporated into the heat-exchanger; temperature of water is lower than the temperature of air surrounding the heat-exchanger, and the heat-exchanger is kept with water in these conditions with a simultaneous selection of condensed sweet water.
KR 20010003009
EVAPORATOR OF DRAIN WATER FROM AIR CONDITIONER IN ELEVATOR
HWANG, JONG YUN
2001-01-15
KR 20000052036
EVAPORATOR FOR DISCHARGING WATER FROM AIR CONDITIONER OF ELEVATOR
HWANG, JONG YUN
2000-08-16
KR 20010077162
NON-POWERED APPARATUS AND METHOD FOR DRAINAGE OF CONDENSATE WATER FROM AIR CONDITIONER
LEE, GWANG SEOP (KR); LEE, MYEONG SEOP
2001-08-17
KR 20070028377
METHOD FOR EXTRACTING WATER FROM AIR, AND DEVICE THEREFOR
IKE, HIDETOSHI (JP); OKUHATA, NAO
2007-03-12
AU 3241078
RECOVERY OF WATER FROM AIR
1979-07-19
AU 517422B
OBTAINING WATER FROM AIR
CLUCK, A
1981-07-30
PL 257283
SEPARATOR FOR SEPARATION OF DUST AND WATER FROM AIR
FRYDEL, WALENTY
1987-07-27